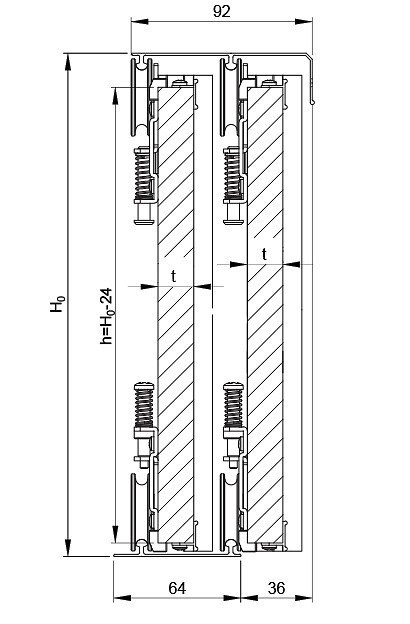
Placard coulissant sur mesure

hauteur max de 2.7m. Epaisseur des panneaux 19mm mélaminé et grand choix de décor. Quincaillerie alu, roues à gorges très fluide en haut et en bas acceptant des portes jusqu’à 70kg.

Exemple de configuration:

placard jusqu’à 2.7m de haut et 1.8m de large avec 2 portes(90cm) décor de votre choix

Fabrication et Pose 640€ Ttc

lien vers décors EGGER